Zufallsbild |
 |
 Unimog404_1961_TLF8/8
Kommentare: 0 FrankNey
|
 |
|
 |
 |
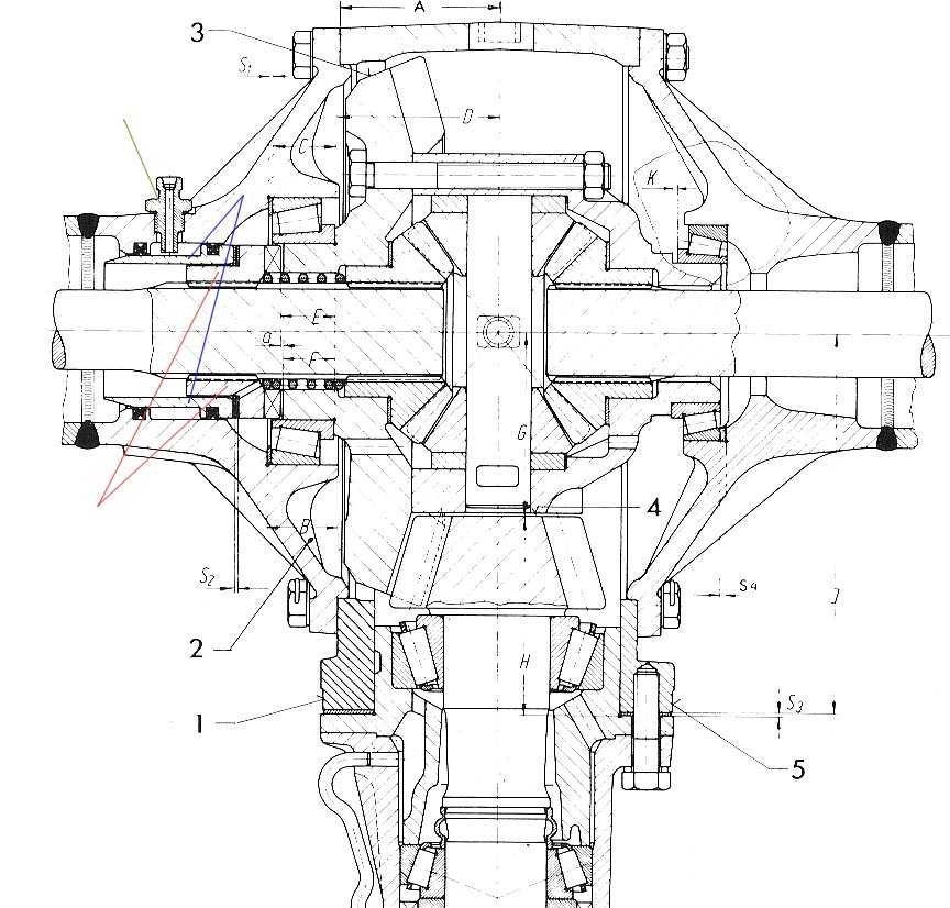
sk_diff_zeichnung
| sk_diff_zeichnung |
| Beschreibung: |
Zeichnung vom Achsdifferenzial 411 neue Achse |
| Schlüsselwörter: |
|
| Datum: |
15.07.2005 05:04 |
| Hits: |
3755 |
| Downloads: |
1 |
| Bewertung: |
0.00 (0 Stimme(n)) |
| Dateigröße: |
91.9 KB |
| Hinzugefügt von: |
stephan |
|
|
 |